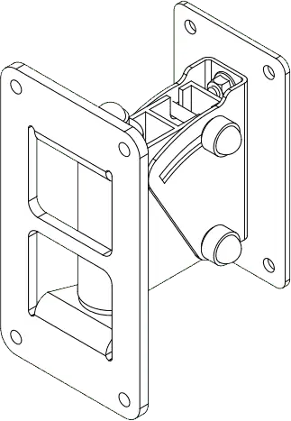
Wall mount for 1 P10

Artno: 564161

1 099 kr. (inkl. moms)

Beskrivelse

Specifikation

Our website uses cookies. By continuing to surf on the page, you agree to us using cookies. Click here for more information.

I understand